9.3.1 宗旨和目標
向高速列車供電的新型接觸網的設計不可能采用早期傳統的電力牽引系統方法,因為在這種速度下,過去的經驗不適用。隨著速度的提高,弓網相互作用變得越來越重要。只有考慮到包括接觸網和受電弓在內的各類配套的系統設備,才能獲得一個切實有用的設計方案。計算機模型方式是模擬這些部件的相互作用的有效選擇。采用這樣的數學模型既能證明各種參數的作用,還可以評估不同系統的相互作用。
動態模擬的目的是要確定滑板作用在接觸線上的移動接觸壓力與時間相關的特性,以及和接觸線抬升的相互關系。在這個過程中,必須同時分析多個接觸點的相互作用,例如,采用單弓和多弓。為了使應用的模型更有效,還要計算比測量接觸壓力更容易的其他參數,如接觸網的運動 [9.12]。為充分考慮所有相關性,模型必須能模擬接觸網設備的以下特性:

圖9.8 型號為SBS 81受電弓的三個質量模型
m—各部分質量; c—彈簧彈性模數; d—阻尼;FR—摩擦力

圖9.9 受電弓的6個質量模塊分別帶有彈性
滑板 (符號同圖9.8)
—各種類型的接觸線、承力索、彈性吊索和吊弦,包括它們的材料特性和安裝條件;
—不同的接觸網設備,例如,彈性承力索,有輔助承力索,或者吊弦間隔不均勻;
—各種支持結構的動態特性,即,定位管、腕臂支持裝置和支柱;
—不連續性,比如象分段絕緣器,錨段關節、接觸網高度的下降及上述位置處的接觸網裝置;
—完整的錨段。
受電弓和滑板模型一定要考慮以下基本參數:
—不同類型的受電弓結構和它們各自的特性,如,單臂受電弓、雙臂受電弓;
—不同類型的接觸元件,如,滑板面、單個滑板。
子系統的參數應易于改變,可允許優化參數。另外,受電弓和接觸網模型的質量必須相當或接近,以保證計算結果的準確。
受電弓和接觸網設備是兩個獨立接觸點上相互振蕩和耦合的系統。有多個滑板的受電弓就會形成多點短距離分離接觸,再利用這種模型,通過接觸壓力和接觸點的位置,可以建立部分模型之間的耦合。
9.3.2 受電弓系統的模型
接觸網與受電弓的接觸點形成了兩個系統的耦合。這就要求合理模擬在這一點的特性和相互作用。 必須計算接觸壓力和接觸點的垂直運動。如果采用系統的平面模型,可認為力總是作用在滑板的同一點上。假設通過滑板力的作用點的線性橫向移動,可以考慮接觸線的橫向移動的立體作用。
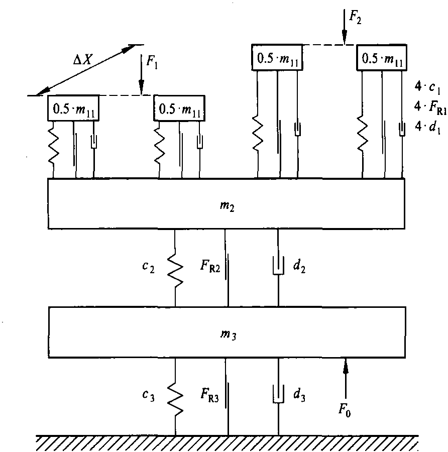
由替換的質量代替受電弓,通過彈簧和緩沖器相互耦合,建立一個簡單的模型,這種模型的振蕩行為可以通過一個系統的二次微分方程表達。方程式的多少取決于替換質量的數量,即取決于系統自由度的數量。通常情況下采用三個替換質量。它們可以利用質量代表受電弓的下框架、上框架和滑板板面。圖9.8為采用三個質量模型SBS 81型德國鐵路受電弓 [9.13]。
替換質量數量少意味著只考慮選擇受電弓振蕩模式。例如,受電弓上框架附件的復合振蕩以及圖9.8所示的單個彈性滑板均不含在這種模型中。
圖9.9是由于研究帶單個彈性滑板的受電弓,采用的6塊質量模型的形式。這里,滑板的質量被分成位于不同支持點上的分質量塊。沿滑板的沖擊力在各質量塊中相對于接觸點的位置成線性分布。

圖9.10 受電弓模型的分析
在參考文獻 [9.14] 中所開發的模型是專門用于條形滑板的單臂受電弓。這種受電弓模型有四個自由度,如圖9.10所示,不僅考慮了進行條形彈簧的垂直運動和中、低部連接的有角度的運動,而且還考慮了上框架的彎曲。插入數學模塊的參數是從受電弓部件的幾何和材料參數中推導出來的。不幸的是沒有通用的分析摸型,因為設計中每個微小的變化,比如,采用單個的彈性滑板,就需要新的運算法則。采用有限元法就可以得到理想的精確度。在參考文獻 [9.15] 中,ICE的受電弓的模型就是采用的有限元法,具有480°的旋轉范圍,也包括了其中的運算過程。為得出這樣的結論在計算中付出了高昂的代價,但
計算模型精確度的改進卻微乎其微。因此,參考文獻 [9.15] 的作者僅采用了簡單的三個質量模型來優化受電弓的設計。

圖9.11 SBS 65型和DSA350型受電弓設計的動態外觀質量模塊
還可以用測得的與頻率相關的動態表面質量和動態模擬彈性受電弓 (參見參考文獻[9.1] 的圖9.11.)。這樣在計算中可將受電弓的沖擊和反應視為在相應頻率時單獨反應的累加。在此模型中,采用單獨頻率運算方法是具有優勢的。在其他的模型中,通過諧波分析可以確定激勵模型。除了上述的測量外,通過考慮單獨頻率傳輸慣性,也可以確定動態表面質量的相位反應。
9.3.3 接觸網模型
9.3.3.1 基本思路
免責聲明:本網站所刊載信息,不代表本站觀點。所轉載內容之原創性、真實性、完整性、及時性本站不作任何保證或承諾,請讀者僅作參考并自行核實。










































